LIFT Mk2 ManualUpdated 4 months ago
SAFETY NOTES
- Do not hold, grab, pull, or lift the speaker support platform from inside the bolt access cutout. Risk of damage to the platform and injury could occur. Hold the platform firmly from below, never from the top cutout.
- Remove speakers from stands when moving or transporting.
- Components are heavy, do not drop them on yourself. Use caution when carrying stands.
- Speakers can be knocked off the stands. Use caution when moving around them.
- Be conscious of tripping hazards from cables.
- Only position the stands on solid, stable, and level surfaces.
- Ensure that all bolts are sufficiently tightened during the assembly process.
- Electrical shock hazard! Do not open the control box or columns. No user serviceable parts inside. For service needs, please contact us via our website.
UNPACKING
Unpack all components and lay them out. Check that you have all of the following components:
- The correct quantity of stand boxes that you ordered (1 box per stand)
- A power supply box if applicable
Each stand box should contain:
- (1) Speaker Platform
- (1) Stand Column
- (1) Base Plate
- (1) Base Plate Feet Kit
- (4) M10 Leveling Feet
- (4) M10 Lock Nuts
- (4) Nylon Washers
- (1) 5mm Allen Key
- (1) General Parts Bag:
- (1) Column Hardware pack
- (8) M6 Bolts
- (8) M6 Lock Washers
- (1) 4mm T-Handle Hex Driver
- (1) Motor Control Cable
- (1) Magnetic Cable Clip
- (1) Column Hardware pack
Each power supply box should contain:
- (1) PSU Unit (2ch unit for one or two stands; 3ch unit for three stands)
- (1) IEC Power Cable(s)
- (1) Control Keypad
- (1) Keypad Mounting Bracket and Mounting Screws
ASSEMBLY PROCEDURE
Follow these instructions to build each stand:
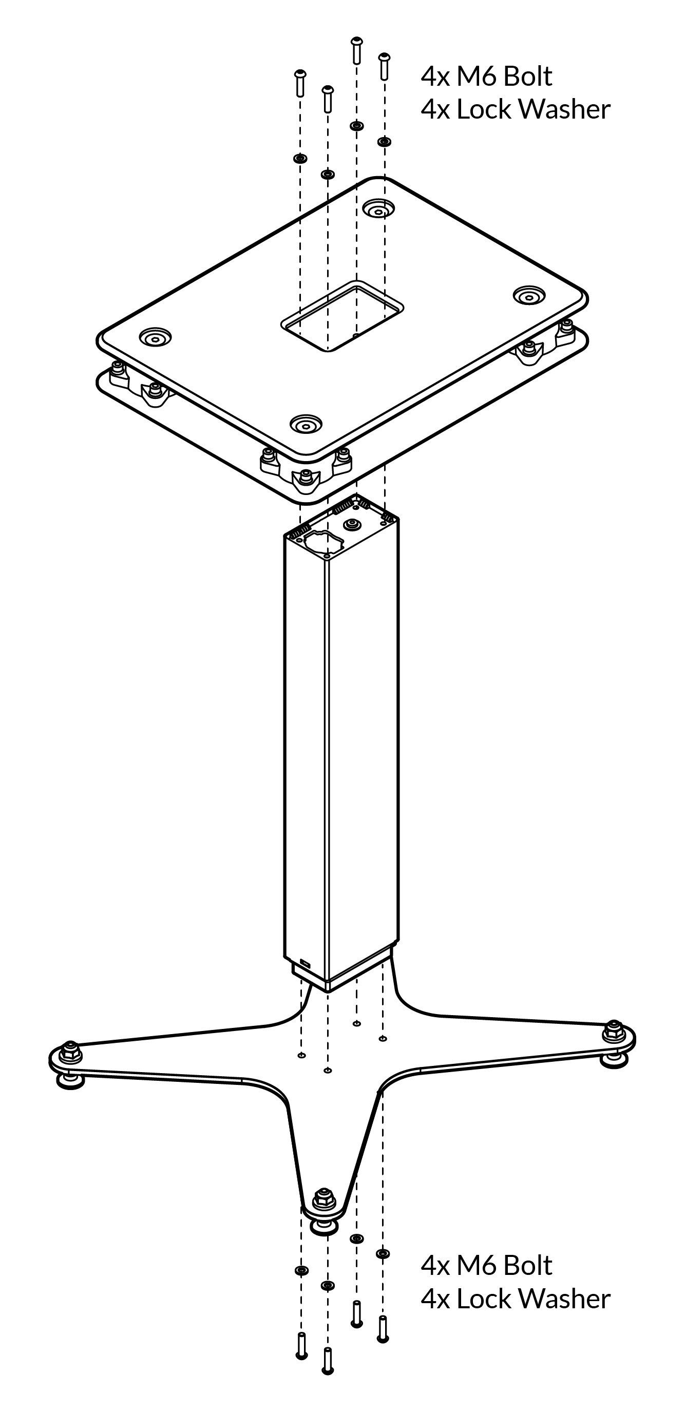
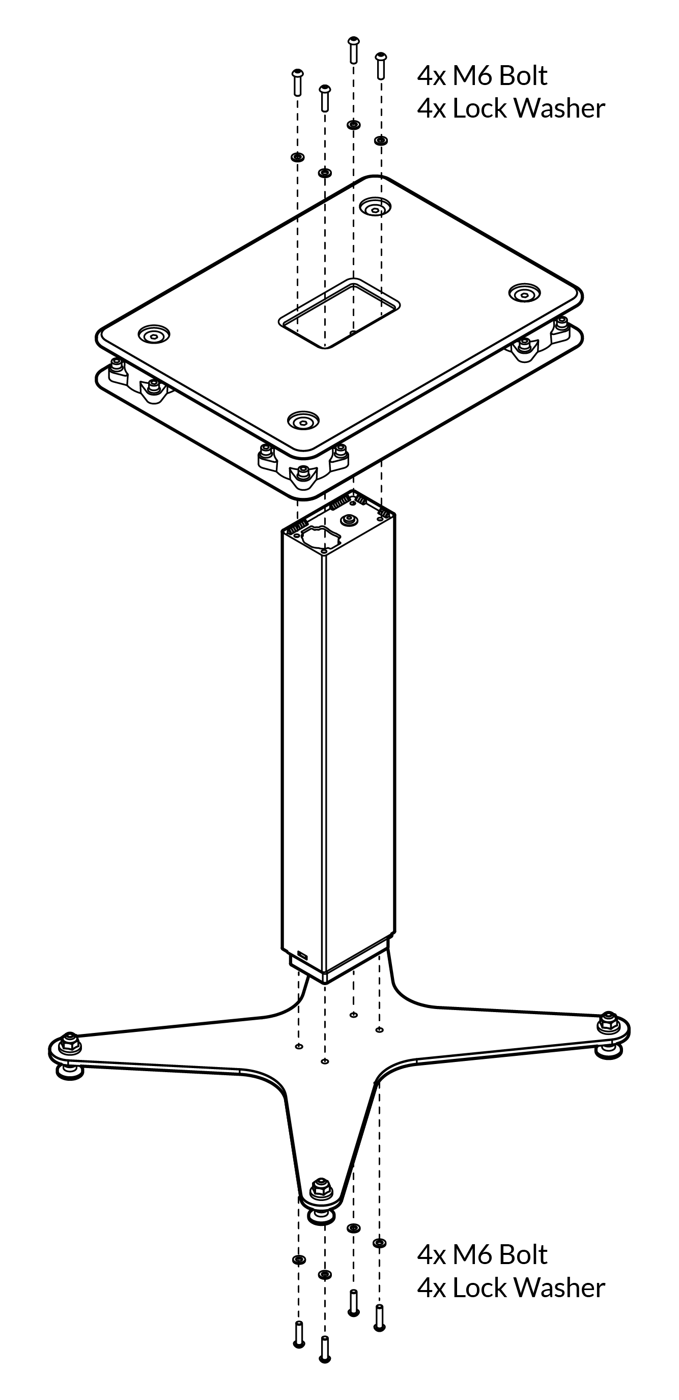
Step 1. Each column contains a captive control cable tail, which will be tucked inside the column during shipment. Pull out and insert each column’s captive power cable tail and rubber sleeve into the corresponding notch in its base. This is the bottom of the column. Be careful not to pinch the cable when attaching the column to the baseplate. This will render the column inoperable and void the warranty.
Step 2. Screw the four leveling feet into the bottom of the base plate. The bottom of the base plate is the side which has protruding PEM nuts. Use the 5mm Allen key to assist as needed. We recommend leaving approximately 1/2 inch of thread exposed between the bottom of the base plate and the top of the foot to allow for fine adjustment. Important Note: the base plate must be oriented with the PEM nuts facing down. Assembling the stands with the PEM nuts facing upward could cause failure of the base plate.

Step 3. Attach the assembled base plate to the bottom of the column using (4) M6 bolts through (4) M6 lock washers per stand. Use your fingers to thread the bolts, taking care not to cross thread any of the fasteners. Once all four bolts are fully threaded, tighten them with the supplied T-Handle Hex driver. Do not over tighten as this could damage the threads inside the column and void the warranty (max torque 10Nm).

Step 4. Place the stand upright on its base and attach the speaker platform to the top of the column. Carefully thread and then tighten the (4) M6 bolts through (4) M6 lock washers per stand in the same manner as before (max torque 10Nm).
Step 5. After assembling your stands, place the stands in their approximate final positions and connect the motor control cables from each column to the control box. The columns can be connected to any of the motor power ports on the control box labeled “1”, “2”, or “3” according to the number of stands you ordered. The control box may be placed anywhere that is convenient but please ensure that it has some ventilation space around it and the cables are not strained to reach the stands during operation.
Step 6. Connect the control keypad cable to the control box port “A1”.
Step 7. Connect the IEC power cable to the control box and connect it to a nearby outlet or power strip.
Step 8. You may mount the control keypad under your desk using the included bracket and screws or place it on the desk surface without the bracket. Mount or place the keypad within easy reach if you plan to adjust the stand height frequently. Alternatively you can use the keypad to adjust the stand height during setup and then leave it stored out of the way near the control box.
NOTE: Once you insert the mounting bracket into the control keypad, it cannot be removed.
SYSTEM INITIALIZATION
Once assembly is completed, proceed with initializing the column motors:
- Press and hold the DOWN button on the controller until the columns retract fully and then stop (about 5 seconds). The columns will then automatically run approximately 3 mm out again.
- Only release the DOWN button when movement has stopped completely. You are now ready to use LIFT.
SYSTEM CONTROL
- Adjust the height of the stand using the UP/DOWN keys.
- To save a height preset: adjust the stand to the desired height, press the S key and then press the desired memory key (1,2, or 3).
- To recall a height preset, push and hold the preset number key until the stand moves fully to the stored position.
LEVELING
Once the stands are placed in the approximate position where they will be used and the motors have been initialized you can go about final leveling of the bases:
- Check the base for any wobble or rocking and adjust the appropriate leveling feet to eliminate it.
- The bases should be stable and completely wobble free when you’re done.
While most floors are level enough for the stands to be height aligned and level out of the box, there are some circumstances where a floor is so sloped as to require more substantial adjustment. In this circumstance:
- Use a level placed on top of the speaker platform and adjust the leveling feet to achieve a perfect level of both the left/right and front/back axis. Repeat for the other stand.
- Measure platform heights and adjust feet to align if needed.
SPEAKER PLACEMENT
After leveling the stands, place your speakers on the platform(s). Center each speaker over the platform and column in order to achieve the greatest stability and ensure that the speaker is adequately supported.
Use the control keypad to refine the speaker height to your desired position. We recommend setting speakers so that the tweeters are at ear level. Once the height is set, adjust the final toe in and listening distance to suit your preference. We recommend starting with the standard equilateral triangle setup:
- Each speaker 30 degrees toe in.
- Speaker faces equidistant from the listener and each other.
- Tweeters at ear height when listener is comfortably seated at the desk.
SPECIFICATIONS
- Baseplate Footprint: 390mm x 440mm (15.4” x 17.3”)
- Small Speaker Platform: 200mm x 300mm (7.9”x 11.8”)
- Large Speaker Platform: 300mm x 400mm (11.8” x 15.8”)
- Minimum Platform Height: 622mm (24.5”)
- Maximum Platform Height: 1282mm (50.5”)
- Column Travel Distance: 660mm (26")
- Weight:
- Stand with Small Platform: 14 kg (31 lbs)
- Stand with Large Platform: 17 kg (37.5 lbs)
- Load Capacity:
- Light Isolators: 5 kg - 16 kg (11 lbs - 35 lbs)
- Medium Isolators: 16 kg - 30 kg (35 lbs - 66 lbs)
- Heavy Isolators: 30 kg - 45 kg (66 lbs - 99 lbs)
- Note: Do not exceed the load capacity of the isolation platform.
- Decoupling Natural Frequency: As low as 12Hz when loaded within range.
- Certifications:
- LIFT's motorized column conform to IEC and UL standards. The customer is responsible for confirming whether LIFT meets the regulatory standards of their country.
- EN 60335-1
- EN 13849-1
- UL 962